[返回列表.]    [免费下载畅易手机版APP ]

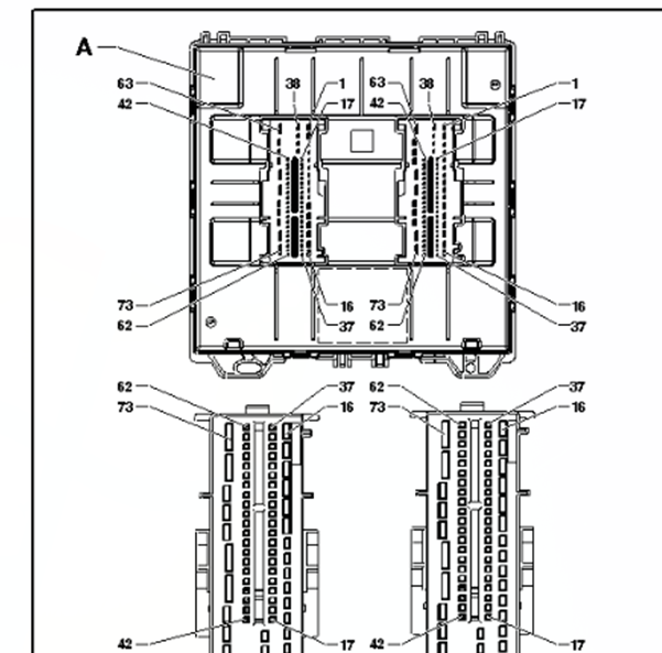
用户 hlytian **当前提问:14速腾1.6自动舒适BCM J519双大插头的针

14速腾1.6自动舒适BCM J519双大插头的针脚图

.尊敬的用户,欢迎你使用在线客服,你的问题客服人员已为你处理完毕,请下载附件,如有疑问,欢迎和我们联系!.14年大众速腾J519针脚

附件:50341046389929.rar


用户 hlytian ***其他客服问题:
  13年新福克斯2.0排量右前门玻璃机线路图及保.. 长安福特福克斯2013-2.0
  缸盖螺丝扭矩.. 克莱斯勒酷威2010-2.7l
  新桑塔纳雨刮清洗系统线路图.. 上海大众桑塔纳2019-1.5
  2012捷豹XJL3.0汽油发动机机械增压拆装及检查.. 捷豹XJL2012-3.0T汽油[SAJAA2288D** ]
  08宾利飞驰w12发动机拆装图 正时图.. 宾利飞驰2008-BEB[SCBBE53W68** ]
  2007年飞度电子助力转向系统电路图.. HG7132A飞度2007-L13A3[LHGGD18298** ]
以下是一汽大众相关车型的客服问题,希望对您有帮助
 点火开关的拆解方法..一汽大众捷达 14年10月 CPD
 喇叭控制电路..大众速腾 2006 BWH [LFV2A11KX8**]
 主气囊拆装方法..一汽大众(奥迪)A4L2.0TFSI 双离合 40TFSI 进取型 2019 CWN(2.0) [LFV3A28W3J**]
 拆a柱C柱,修排水管。 A柱C柱及部分顶棚怎么..一汽大众(奥迪)A4L2.0TFSI 双离合 45TFSI Quattro 风尚型 2017 CWP(2.0) [LFV3A28W3G**]
 转换器盒位置图..一汽大众速腾 2016 CPD
 气囊电脑针脚定义..一汽大众速腾 20131221 CLR [LFV2A11K0D**]
 大修数据拧紧力矩..一汽大众速腾 16 CPD
 司机位头枕怎么拆..一汽大众(奥迪)A4L2.0TFSI 双离合 35TFSI 进取型 2019 DKU(2.0) [LFV3A28WXK**]
 速腾遥控防盗设置s..大众速腾 2002-2012
 捷达仪表针脚定义..一汽大众捷达1.6 手动 豪华型 2013 CPD(1.6) [LFV2A1BS1E**]
 保险盒图解以及线路图资料..一汽大众(奥迪)A41.8T 无级 豪华型 2007 BKB(1.8) [LFV3A28E48**]
 迈腾B8电子手刹控制单元位置在哪里..一汽大众迈腾 2017款 2.0

Copyright @ 2009 www.car388.com All rights reserved. 蜀ICP备12014226号-2 增值电信增值业务许可证:川B2-20190647 服务电话:028-87038205 87039205 87020205 川公网安备 51010502010015号 公司地址:成都市龙泉驿区经开区南二路309号 鼎峰动力港 企业办公总部基地 12栋
2025-05-09.-.V25