[返回列表.]    [免费下载畅易手机版APP ]

用户 航泰 **当前提问:发动机电脑针脚定义

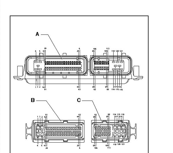
发动机电脑针脚定义

.尊敬的用户,欢迎你使用在线客服,抱歉没有发动机针脚说明资料,客服处理了发动机针脚和电路图资料参考。你的问题客服人员已为你处理完毕,请下载附件,如有疑问,欢迎和我们联系!2012年大众辉腾发动机电脑针脚和电路图.

附件:24881662846658.zip


用户 航泰 ***其他客服问题:
test:
  找下一汽森雅S80 13年电路图.. 一汽吉林森雅S8013年-3SZ-VE2[LFBUD1364D** ]
  发电机故障灯闪亮 要仪表到发动机电脑端子.. 通用科鲁兹14-1.6[LSAGPC64U6** ]
  安吉星模块怎么拆.. 上海别克GL82019.12-LTG[LSGUL83L2L** ]
  长安睿骋定速巡航开关电路图.. 长安睿骋13年-JL486ZQ2[LS5A2DEW4D** ]
  发动机电脑端子图 MT22.1.. 长安逸动14-1.6[L** ]
  左前碰撞传感器线路走向.. 奔驰GLE32017-276821[WDCDA6CB6H** ]
以下是大众相关车型的客服问题,希望对您有帮助
 查一下这个J393的针脚图,电源打铁针脚..大众迈腾 2007 1 [LFV3A23C67**]
 发动机控制电路图..大众高尔夫旅行版 11年 CNW1.4 [WVWS131K3C**]
 发动机维修手册..大众途锐 2013 CRC [WVGA597P1D**]
 左前门门锁电路图..大众甲壳虫 2013 CTK [WVWC6114EM**]
 左前门车窗线路图..大众捷达 2006年6月8 BJG [LFV2A11G76**]
 代码P0134 气缸离1传感器1没激活..大众波罗 02
 在客服给的新朗逸上,还是没有找到,空气流..大众朗逸 2014 无 [无**]
 汽车遥控器接收天线位置图和遥控系统电路图..大众途锐 2006 BAR [WAUAV94L97**]
 四轮定位数据 04ss ..大众朗逸 2016 . [.**]
 17帕萨特全车电路图..大众帕萨特 2017 DBH
 大众和奥迪数据流的通道号..大众与奥迪大众与奥迪 所有大众与奥迪 所有 [所有**]
 雨刮器电路图..大众途观 2011 1 [LSVUJ65N8B**]

Copyright @ 2009 www.car388.com All rights reserved. 蜀ICP备12014226号-2 增值电信增值业务许可证:川B2-20190647 服务电话:028-87038205 87039205 87020205 川公网安备 51010502010015号 公司地址:成都市龙泉驿区经开区南二路309号 鼎峰动力港 企业办公总部基地 12栋
2025-01-13.-.V25VHTML-2025-