[返回列表.]    [免费下载畅易手机版APP ]

用户 yulongqi **当前提问:大通G50PLUS发动机电路图 发动机电脑端

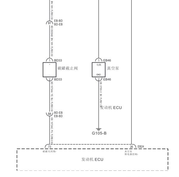
大通G50PLUS发动机电路图 发动机电脑端子图

.尊敬的用户,欢迎你使用在线客服,你的问题客服人员已为你处理完毕,请下载附件,如有疑问,欢迎和我们联系!.2022年上汽大通G50发动机电路图

附件:25912619559430.zip


用户 yulongqi ***其他客服问题:
test:
  附加水泵电路图 .. 奥迪11-1[LFV3A28K7D** ]
  驻车辅助模块位置 电路图.. 奥迪汽车A7 Sportback3.0TFSI 双离合 50TFSI Quattro 舒适型2017-CRE(3.0)[WAUSGC4G7H** ]
  悬挂电路图.. 奔驰s30007-272[WDDNG54X47** ]
  14本田杰德正时链条对法.. 本田杰德杰德14-r18z6[LVHFR1817F** ]
  手刹模块电路图.. 路虎揽胜10-1[SALMN1D45A** ]
  smart全车电路图 元件位置图.. bcsmart2016-453[wmeff5db4g** ]
以下是LSKG4BC1XPD048055相关车型的客服问题,希望对您有帮助
 abs 报SAS can信号无效 要这个故障码维修指南 ..上汽大通MAXUS G50 2019 15E4E [LSKG4BC11K**]
 电子刹车电路图..上汽大通大通EV80 2019/2020 . [.**]
 查一下电池管理系统故障码含义(BMS)POA9500 P..上汽大通大通MIFA 9 2022 TZ204XS1351 [LSKG48C11P**]
 大通G50全车电路图SS..上汽大通大通G50 2019 . [.**]
 找维修手册..上汽大通 2016 Ip-m131101 [Lsh14j4cog**]
 室内保险 F5号保险以后的所有电路图 包括胎..上汽大通 2021 SC20M163Q6A [LSKG4GC1XM**]
 请给我发一份全车电路图..大通大通SH6501A1D4 2012 SC25R120Q4 [LSKG4GC19C**]
 ABS系统维修资料..国内 上汽大通大通EUNIQ 7 2021 . [.**]
 大通v90倒车灯不亮..大通大通v90 21j年 sc20m150q6 [lskg5gc13m**]
 防抱死系统维修手册..上汽大通大通T90 2021/2022 SC20M163Q6A [.**]
 ABS电路图..国内 上汽大通大通EUNIQ 5 2022 . [.**]
 上海 大通汽车对正时图片 图解 ..上海汽车商用大通汽车大通 2014年09月 SC25R136.1Q4

Copyright @ 2009 www.car388.com All rights reserved. 蜀ICP备12014226号-2 增值电信增值业务许可证:川B2-20190647 服务电话:028-87038205 87039205 87020205 川公网安备 51010502010015号 公司地址:成都市龙泉驿区经开区南二路309号 鼎峰动力港 企业办公总部基地 12栋
2025-01-12.-.V25VHTML-2025-