[返回列表.]    [免费下载畅易手机版APP ]

用户 17690991 **当前提问:20款三菱欧蓝德气囊电脑版针脚图

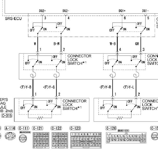
20款三菱欧蓝德气囊电脑版针脚图

.尊敬的用户,欢迎你使用在线客服,抱歉该车只有气囊针脚图,没有针脚定义资料,请结合电路图参考查看,你的问题客服人员已为你处理完毕,请下载附件,如有疑问,欢迎和我们联系!2020年三菱欧蓝德气囊电脑针脚图.

附件:19302303914866.zip


用户 17690991 ***其他客服问题:
test:
  变速箱油路板五个小钢珠位置在哪?.. 东风日产天籁15-QR25[LGBF5DE00F** ]
  OBD针脚图.. 凯迪拉克CT62020-LSY[LSGKR53L2L** ]
  风扇1控制电路.. CAF7205A41蒙迪欧11年-BA30707[LVSHBFDC0B** ]
  空调不工作.. 吉利远景2011年9月-JL1-4G15[LB37824S0B** ]
  电子水泵线路图.. 华晨宝马320i13年9月-N20[LBV3B1403E** ]
  玻璃升降开关电路图.. 宝马320li2014-N20[LBV3M210XE** ]
以下是广汽三菱相关车型的客服问题,希望对您有帮助
 室内保险盒线路图..三菱欧蓝德 14年 无 [无**]
 老师你们好。请帮忙给欧蓝德的车门玻璃设定..北京吉普欧蓝德欧蓝德 08 3224
 来一份发动机电脑针脚图..广汽三菱帕杰罗 2008年7月 6G72 [LL62H4C028**]
 17年广汽三菱欧蓝德 制动液 液位传感器 控制..广汽三菱 17 4J12 [LL66HBB07H**]
 可变阀门电路图及位置..广汽三菱欧蓝德 19 GF8W [LL66HB03KB**]
 14劲炫ASX换挡机构电路图及变数箱电脑针脚定..广汽三菱劲炫ASX 14 4B11 [LL66HAB05E**]
 燃油表电路图图..广汽三菱劲炫GMC6430A 2014年12月 4A92 [LL66H2F09E**]
 无钥匙启动天线的位置,平台上16-17年的不大..三菱欧蓝德 2017 4J11 [LL66HAB05H**]
 13年三菱帕杰罗V93发动机电脑板端子图 ABS电..广汽三菱帕杰罗 V93 13 6G72 [JE4NR52M9E**]
 无线控制模块(WCM),维修资料?s..三菱欧蓝德 2010
 欧蓝德四驱灯闪..日本欧蓝德 13 4J12 [JE3AZ5938D**]
 广汽三菱欧蓝德日行灯资料和电路图..广汽三菱欧蓝德 2016年12月 4J11 [LL66HAB04G**]

Copyright @ 2009 www.car388.com All rights reserved. 蜀ICP备12014226号-2 增值电信增值业务许可证:川B2-20190647 服务电话:028-87038205 87039205 87020205 川公网安备 51010502010015号 公司地址:成都市龙泉驿区经开区南二路309号 鼎峰动力港 企业办公总部基地 12栋
2025-01-13.-.V25VHTML-2025-